Angle Right

Angle Right

Angle Right

VARIO-Sanierungsablauf

Flachdach-Sanierungsablauf mit PVC-Flansch

PVC-Flansch

Flachdach-Sanierungsablauf mit PYE-Flansch

PYE-Flansch

Flachdach-Sanierungsablauf mit PE-Flansch

PE-Flansch

Flachdach-Sanierungsablauf mit PP-Flansch

PP-Flansch

Flachdach-Sanierungsablauf mit Folien-Flansch

Folien-Flansch

VARIO-Sanierungsablauf

Mit Kiesfang

Rohrlängen individuell anpassbar

Bestellbare Flansche:

  • Hart-PVC
  • Bitumenbahn PYE PV-250 S5
  • Hart-PP
  • Hart-PE
  • Folie


Bestellbare Größen: 

DN 90

Technische Daten

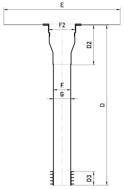
Flachdach-Sanierungsablauf mit Flansch aus PVC

Zeichnung Udo Huppers GmbH Flachdach-Sanierungsablauf mit PVC- Flansch

Nennweite

(mm)

D2

(mm)

D3

(mm)

E

(mm)

F

(mm)

F2

(mm)

G

(mm)

DN 90

650

185

55

372

105

111

110

Flachdach-Sanierungsablauf mit Flansch aus PYE

Zeichnung Udo Huppers GmbH Flachdach-Unterteil XL mit KSU- Flansch

Nennweite

(mm)

D2

(mm)

D3

(mm)

E

(mm)

F

(mm)

F2

(mm)

G

(mm)

DN 90

625

160

55

480

105

111

110

Zeichnung Udo Huppers GmbH Flachdach-Sanierungsablauf mit PE-/PP-/Folien-Flansch

Flachdach-Sanierungsablauf mit Flansch aus PE, PP und Folie 

Nennweite

(mm)

D2

(mm)

D3

(mm)

E

(mm)

F

(mm)

F2

(mm)

G

(mm)

DN 90

625

160

55

490

105

111

110

Weitere technische Daten und Informationen finden Sie hier.

Bitte beachten Sie fertigungsbedingte Maßtoleranzen von +/-10 mm.

Suchbegriffe: 

Ausschreibungstexte

Huppers Sanierungsablauf DN 90 mit Flansch aus Hart-PVC


Sanierungsablauf/ -gully mit Laubfangkorb und Rückstaudichtung zur Sanierung oder Reparatur von bereits verbauten DN 100 Abläufen aus witterungsstabilem und schlagzähem PVC-U.


Rohrlänge 500mm (Rohrlänge von bis zu 1200 mm möglich)


Nennweite: DN 90

Artikel-Nr.: 300000090401

GTIN: 4262468984100

Hersteller: Udo Huppers GmbH


Brandschutzklasse/Baustoffklasse B2


liefern, fachgerecht in Öffnung einbauen, im Untergrund befestigen, an die Dämmstoffstärke Anpassen und an die Dachabdichtung anschließen.



Huppers Sanierungsablauf DN 90 mit Flansch aus PYE


Sanierungsablauf/ -gully mit Laubfangkorb und Rückstaudichtung zur Sanierung oder Reparatur von bereits verbauten DN 100 Abläufen aus witterungsstabilem und schlagzähem PVC-U. Anschlussmanschette aus PYE-PV-250 S5.


Rohrlänge 500mm (Rohrlänge von bis zu 1200 mm möglich)


Nennweite: DN 90

Artikel-Nr.: 300000090400

GTIN: 4262468984094

Hersteller: Udo Huppers GmbH


Brandschutzklasse/Baustoffklasse B2


liefern, fachgerecht in Öffnung einbauen, im Untergrund befestigen, an die Dämmstoffstärke anpassen und an die Dachabdichtung anschließen.



Huppers Sanierungsablauf DN 90 mit Flansch aus Hart-PE


Sanierungsablauf/ -gully mit Laubfangkorb und Rückstaudichtung zur Sanierung oder Reparatur von bereits verbauten DN 100 Abläufen aus

witterungsstabilem und schlagzähem PVC-U. Anschlussmanschette aus Hart-PE.


Rohrlänge 500mm (Rohrlänge von bis zu 1200 mm möglich)


Nennweite: DN 90

Artikel-Nr.: 300000090403

GTIN: 4262468984124

Hersteller: Udo Huppers GmbH


Brandschutzklasse/Baustoffklasse B2


liefern, fachgerecht in Öffnung einbauen, im Untergrund befestigen, an die Dämmstoffstärke anpassen und an die Dachabdichtung anschließen.



Huppers Sanierungsablauf DN 90 mit Flansch aus Hart-PP


Sanierungsablauf/ -gully mit Laubfangkorb und Rückstaudichtung zur Sanierung oder Reparatur von bereits verbauten DN 100 Abläufen aus witterungsstabilem und schlagzähem PVC-U. Anschlussmanschette aus Hart-PP.


Rohrlänge 500mm (Rohrlänge von bis zu 1200 mm möglich)


Nennweite: DN 90

Artikel-Nr.: 300000090402

GTIN: 4262468984117

Hersteller: Udo Huppers GmbH


Brandschutzklasse/Baustoffklasse B2


liefern, fachgerecht in Öffnung einbauen, im Untergrund befestigen, an die Dämmstoffstärke anpassen und an die Dachabdichtung anschließen.



Huppers Sanierungsablauf DN 90 mit Flansch aus Folie


Sanierungsablauf/ -gully mit Laubfangkorb und Rückstaudichtung zur Sanierung oder Reparatur von bereits verbauten DN 100 Abläufen aus witterungsstabilem und schlagzähem PVC-U. Anschlussmanschette aus Folie.


Rohrlänge 500mm (Rohrlänge von bis zu 1200 mm möglich)


Nennweite: DN 90

Artikel-Nr.: 300000090412

GTIN: 4262468984131

Hersteller: Udo Huppers GmbH


Brandschutzklasse/Baustoffklasse B2


liefern, fachgerecht in Öffnung einbauen, im Untergrund befestigen, an die Dämmstoffstärke anpassen und an die Dachabdichtung anschließen.

Udo Huppers GmbH

Landwehr 130

46515 Schermbeck

Tel.: 02853-914610

Mail: info@huppers-dach.de

Gelisteter Lieferant 

bei allen großen Einkaufskooperationen

Diese Website verwendet Cookies. Bitte lesen Sie unsere Datenschutzerklärung für Details.

Verweigern

OK